Supertracker offer a selection of wheel alignment machines, including laser wheel aligners and computer wheel aligners for car and commercial vehicles.
Whether you need repairs, calibration, staff training, or wheel alignment advice Supertracker provides comprehensive wheel alignment services to ensure your business runs smoothly and efficiently.
The terminology used in wheel alignment angles all have an important role to play in the performance of the motor vehicle. Learn more about the five most important wheel alignment angles involved in achieving quality wheel alignment.
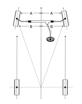
Front toe, sometimes referred to as “tracking”, relates to the way the actual width of the track varies from the front to the rear of the front wheels. As viewed from above the front road wheels will be either pointing towards the centre line of the vehicle or away from it. If the wheels are pointing away from the centre line this is referred to as Toe Out (also called Negative Toe). If the wheels point towards the centre line it is called Toe In (also called Positive Toe).
These settings are built into the steering geometry to reduce the tyre wear to a minimum and counteract the tensions built up by the geometry angles. If these angles are not set equally to the centre line this will be shown up as the steering wheel not being straight. An exception to this rule would be due to thrust angle compensation.
Again the rear toe on a vehicle is set to give minimum tyre wear. It is also used to assist straight line stability. Wheels need to be set equal on both sides of the vehicle, otherwise a thrust angle is introduced. The effect of this will be uneven tyre wear and the steering wheel will not be straight.
Thrust Angle, also referred to as Thrust Line, is the angle of the centre line in relation to the rear axle or the theoretical rear axle. The centre line should be 90 degrees from the rear axle, which in turn means there is 0 degree thrust angle.
Any value other than 0 will affect the relationship between the front and rear wheels and cause “crabbing”, making the steering wheel pull either left or right. In this instance, the front toe values would be changed to compensate for this, referred to as Thrust Angle Compensation.
.
Camber is the angle of the road wheel measured from true vertical. Negative camber is when the top of the wheel is leaning into to the vehicle. Positive camber is when the top of the road wheel is leaning away from the vehicle. This angle is set to assist the vehicle when cornering as well as assisting straight line stability. The camber angles must be equal either side of the vehicle. If not the vehicle will pull of drift either left or right. If the camber is not set correctly the tyres will show wear on just one side. Too much negative camber will wear the inside edge of the tyre, too much positive camber will wear the outside edge of the tyre.
Castor angle in a car simulates the angle of the forks on a push bike. It is designed to give the vehicle straight line stability. This angle is only adjustable in a few vehicles. This angle is often over looked on a problem vehicle. The cause of castor problems is usually accident damage. Both castor angles do not need to be the same as the effects of the road. Camber can influence the vehicle drifting left or right. In the UK, cars are often set with the left castor slightly higher than the right to compensate for the road camber.
Supertracker have a range of wheel alignment equipment that can accurately and simply measure wheel alignment angles. From our innovative green laser systems through to our computerised 6 and 8 sensor systems. Contact Supertracker for a quotation at [email protected].